找回密码
 立即注册
澳门威尼斯人
U8
U18
海燕招商
A
蓝盾
e世博
islot.
申博亚洲
澳门银河
B
开云
腾博会
德信
C级广告商
吉祥坊
华体会
查看: 198477|回复: 56

[真人] 【实战有奖】今天在九五至尊娱乐城玩这个骰宝全红收米了

[复制链接]

3690

主题

7万

回帖

4117

金币

海燕硕士

积分
214765

万时之王老会员勤奋勋章交易勋章

发表于 2024-7-18 07:21 | 显示全部楼层 |阅读模式

马上注册,结交更多好友,享用更多功能,让你轻松玩转社区。

您需要 登录 才可以下载或查看,没有账号?立即注册

×
一大早玩这个区块链色子玩的还是很不错的打出来收米了,开局还是20一单下注小数,打出来134点数8成功收米,继续下注大346点数13也是收米了,后面继续下注大打出来445点数13收米,第四单下注小打出来234点数9也是收米了,最后一单下注小打出来点数10成功收米,全红收米了100块钱,这样的结果也是值得高兴的
2 y2 Z! ^1 y" k# a" E 360截图20240718070716156.jpg 360截图20240718070814578.jpg 360截图20240718070748230.jpg # X. t" \$ J- x$ @9 o
, B3 Y4 l9 [/ _5 ^4 T" o
好几天没有玩这个区块链色子了,今天的下注还是比较给力的,打出来一个全红状态收米100块钱,也不是很多只要是不要嫌少就可以了,保住自己的盈利不要输掉就可以了,前几天输钱就一直休息,100块钱的盈利也是不能赢回来最近的损失啊,玩这个区块链色子输掉太多钱了,只不过能够做到赢钱也是很高兴的还是慢慢来吧
: }8 F' b0 {) K  B 360截图20240718070735176.jpg
: K; ?' l) c2 j- A& b+ q: m
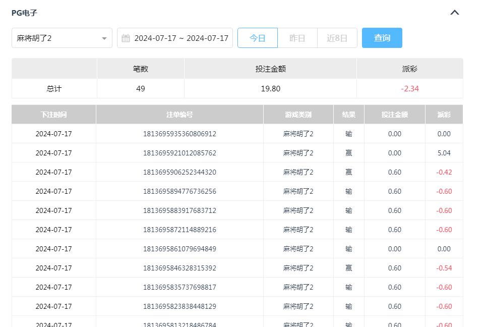
& v0 \: X$ ]" S% G7 v5 c* ^+ m( A有了盈利就去玩玩麻将胡了打了18块钱的流水也没有遇到一个免费旋转,小奖到是出来几个,大奖也是没有遇到一个,最后感觉不好就没有继续下注了,输掉2块钱还是止损撤退了,就这个运气继续玩下去还是输钱的结果了,看来今天不适合老虎机,改天再玩就可以了- I0 e! l- l* J$ \, j' Z2 y6 e' E
360截图20240718070846034.jpg 4 }4 o" h- r0 F

& e) P; N4 x6 z7 O) V* t
回复

使用道具 举报

36

主题

1万

回帖

3789

金币

千足金牌会员

积分
50064

老会员美女勋章光影行者

发表于 2024-7-18 07:54 | 显示全部楼层
这运气真不错,一早晨就收米了,会开心一整天的
回复 支持 反对

使用道具 举报

137

主题

1万

回帖

3279

金币

金牌会员

积分
30395

老会员交易勋章光影行者

发表于 2024-7-18 08:01 | 显示全部楼层
只要是能够收米,还是很不错的,希望以后都能够有个好的结果了。
回复 支持 反对

使用道具 举报

182

主题

6546

回帖

1050

金币

银牌会员

积分
16003

老会员

发表于 2024-7-18 08:52 | 显示全部楼层
问题老虎机还是输了点出去,但也无伤大雅了。可以稳定走一波
回复 支持 反对

使用道具 举报

822

主题

1万

回帖

4564

金币

千足金牌会员

积分
40517

老会员交易勋章光影行者

发表于 2024-7-18 09:20 | 显示全部楼层
楼主这样的胜率,确实是比较给力的,希望以后都能够有个好的结果了。
回复 支持 反对

使用道具 举报

36

主题

476

回帖

1335

金币

高级用户

积分
4117

老会员

发表于 2024-7-18 09:42 来自手机 | 显示全部楼层
楼主玩骰子有的一手啊!连赢那么多手,要是过关就漂亮了
回复 支持 反对

使用道具 举报

3411

主题

8万

回帖

9624

金币

海燕硕士

积分
236129

万时之王老会员精华勋章勤奋勋章交易勋章光影行者

发表于 2024-7-18 12:56 | 显示全部楼层
这样的感觉的就还是看起来是太好了,不过老虎机的也还是有点太难了
回复 支持 反对

使用道具 举报

3411

主题

8万

回帖

9624

金币

海燕硕士

积分
236129

万时之王老会员精华勋章勤奋勋章交易勋章光影行者

发表于 2024-7-18 12:56 | 显示全部楼层
云水谣 发表于 2024-7-18 07:542 @) m7 r1 \6 G  t
这运气真不错,一早晨就收米了,会开心一整天的

! o7 A% K8 i! t( z4 C" [这样的运气来 时候,就是需要的就是自己可以去好好的把握一下了
回复 支持 反对

使用道具 举报

3411

主题

8万

回帖

9624

金币

海燕硕士

积分
236129

万时之王老会员精华勋章勤奋勋章交易勋章光影行者

发表于 2024-7-18 12:56 | 显示全部楼层
q513102062 发表于 2024-7-18 09:427 r+ t- w$ N2 q  B
楼主玩骰子有的一手啊!连赢那么多手,要是过关就漂亮了
. ^9 i* C+ H5 p2 A
这个游戏的话,也还是很少去玩,也还是玩起来就还是输的时候多了
回复 支持 反对

使用道具 举报

1575

主题

8万

回帖

2万

金币

海燕硕士

积分
257281

万时之王老会员精华勋章勤奋勋章交易勋章光影行者

发表于 2024-7-18 15:48 | 显示全部楼层
可以打出全红的战绩还是相当厉害的啊,还是要祝贺一下楼主的呢
回复 支持 反对

使用道具 举报

1575

主题

8万

回帖

2万

金币

海燕硕士

积分
257281

万时之王老会员精华勋章勤奋勋章交易勋章光影行者

发表于 2024-7-18 15:49 | 显示全部楼层
lantianyun 发表于 2024-7-18 12:56
$ j( N4 k6 \3 F0 M0 ?& r这个游戏的话,也还是很少去玩,也还是玩起来就还是输的时候多了
0 [* J8 x2 U( F6 W" b+ C3 b
看起来楼主玩的这个游戏还是非常给力的,最后可以赚钱了还是非常爽快的事情
回复 支持 反对

使用道具 举报

1214

主题

3万

回帖

506

金币

铂金用户

积分
93108

老会员交易勋章光影行者

发表于 2024-7-18 18:21 | 显示全部楼层
能够拥有这样的一个好运气也实在是令人羡慕的,希望你继续加油,争取更好的成绩。
回复 支持 反对

使用道具 举报

1214

主题

3万

回帖

506

金币

铂金用户

积分
93108

老会员交易勋章光影行者

发表于 2024-7-18 18:21 | 显示全部楼层
cwx1994 发表于 2024-7-18 15:49
. }0 d% R; P# m8 l4 |/ O4 ^1 i看起来楼主玩的这个游戏还是非常给力的,最后可以赚钱了还是非常爽快的事情 ...

1 n5 i2 O: w3 H) b, K3 ^+ ?& W如果是全部都靠猜的话,那也是猜的非常的准确的了,真的是很厉害的了
回复 支持 反对

使用道具 举报

1214

主题

3万

回帖

506

金币

铂金用户

积分
93108

老会员交易勋章光影行者

发表于 2024-7-18 18:22 | 显示全部楼层
lantianyun 发表于 2024-7-18 12:56
/ m3 R1 E3 h" m# B5 o( j这样的运气来 时候,就是需要的就是自己可以去好好的把握一下了
* q! l: ^; j- ^$ f
这个运气来了也是已经很好的把握住了呀,真的是要恭喜楼主的了
回复 支持 反对

使用道具 举报

1214

主题

3万

回帖

506

金币

铂金用户

积分
93108

老会员交易勋章光影行者

发表于 2024-7-18 18:22 | 显示全部楼层
q513102062 发表于 2024-7-18 09:42
! L/ m6 U  B7 h; U楼主玩骰子有的一手啊!连赢那么多手,要是过关就漂亮了
% D  v/ W% ]. R; V$ |( y# n) b+ g
不过谁能够料到就一定可以那么准了,所以过关还是不要去想了
回复 支持 反对

使用道具 举报

您需要登录后才可以回帖 登录 | 立即注册

本版积分规则

广告合作|福利汇|论坛简介|钱包教程|手机版|小黑屋|Archiver|海燕论坛

快速回复 返回顶部 返回列表