找回密码
 立即注册
澳门威尼斯人
U8
U18
海燕招商
A
蓝盾
e世博
islot.
申博亚洲
澳门银河
B
腾博会
德信
C级广告商
吉祥坊
查看: 2559|回复: 68

[彩票] 3月开头第一天游戏彩票很顺利收525块钱

[复制链接]

88

主题

2838

回帖

1182

金币

铜牌用户

积分
9709

老会员

发表于 2026-3-1 12:44 | 显示全部楼层 |阅读模式

马上注册,结交更多好友,享用更多功能,让你轻松玩转社区。

您需要 登录 才可以下载或查看,没有账号?立即注册

×
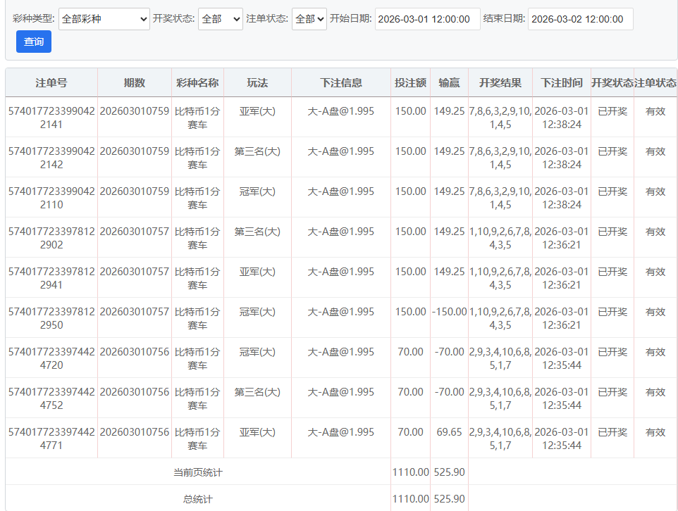
比特彩票玩法一直坚持三定位两面玩法,一般都是正对官方彩票的策略部署打法;70-150-200-300-500的递增下注额,今天极其顺利收525块钱。" I3 X; Q( n# e! z
- o- A6 p! d1 N% z& c; f
2.png
6 u$ [8 U# C; D9 Y* ] 3.png + u1 h8 T1 `. P4 q, c' ]+ A6 i5 \

' [% ~: E$ I3 @1 t4 d

评分

参与人数 1金币 +8 收起 理由
海燕RG + 8 实战分享

查看全部评分

回复

使用道具 举报

1459

主题

1万

回帖

1万

金币

千足金牌会员

积分
59446

老会员财富勋章精华勋章交易勋章热心会员魅力达人

发表于 2026-3-1 12:56 | 显示全部楼层
这个收获我觉得很给力哦
回复 支持 反对

使用道具 举报

231

主题

1万

回帖

3900

金币

千足金牌会员

积分
48632

老会员

发表于 2026-3-1 13:04 | 显示全部楼层
玩游戏能快速完成盈利,那种感觉真棒!
回复 支持 反对

使用道具 举报

365

主题

1万

回帖

9590

金币

千足金牌会员

积分
49842

老会员

发表于 2026-3-1 19:48 | 显示全部楼层
赚多赚少都是好的,兄弟技术就是强
回复 支持 反对

使用道具 举报

365

主题

1万

回帖

9590

金币

千足金牌会员

积分
49842

老会员

发表于 2026-3-1 19:48 | 显示全部楼层
hy188820 发表于 2026-3-1 13:043 q( |8 D& T% z3 T4 z7 J
玩游戏能快速完成盈利,那种感觉真棒!

. b' n" f# O4 G, U2 Y兄弟赚到钱也还是挺好的,运气这也无敌了
回复 支持 反对

使用道具 举报

9

主题

2万

回帖

7127

金币

铂金用户

积分
86134

光影行者

发表于 2026-3-1 20:49 | 显示全部楼层
三定位两面稳扎稳打,这次小赢525挺舒服,递增节奏拿捏得不错啊
回复 支持 反对

使用道具 举报

9

主题

2万

回帖

7127

金币

铂金用户

积分
86134

光影行者

发表于 2026-3-1 20:50 | 显示全部楼层
笑看人生 发表于 2026-3-1 12:569 j& F1 X3 x& O+ l' D
这个收获我觉得很给力哦

8 M! B* O7 Z( U# ~! z. g/ U% t这开局确实舒服,希望后面能稳住别飘,小赢最怕心态炸
回复 支持 反对

使用道具 举报

619

主题

1万

回帖

4396

金币

千足金牌会员

积分
41768

老会员

发表于 2026-3-1 23:54 | 显示全部楼层
这次赚得快,心里真爽,下次还要这么干!
回复 支持 反对

使用道具 举报

1664

主题

8万

回帖

1万

金币

海燕硕士

积分
251232

万时之王老会员精华勋章勤奋勋章交易勋章光影行者

发表于 2026-3-2 05:53 | 显示全部楼层
可以收米这么多钱也是非常厉害的了
回复 支持 反对

使用道具 举报

1664

主题

8万

回帖

1万

金币

海燕硕士

积分
251232

万时之王老会员精华勋章勤奋勋章交易勋章光影行者

发表于 2026-3-2 05:53 | 显示全部楼层
hy188820 发表于 2026-3-1 13:04
8 u" l) J3 m2 y: `) j玩游戏能快速完成盈利,那种感觉真棒!

2 X$ I! n5 M% u这样的感觉还是超级棒的了
回复 支持 反对

使用道具 举报

1664

主题

8万

回帖

1万

金币

海燕硕士

积分
251232

万时之王老会员精华勋章勤奋勋章交易勋章光影行者

发表于 2026-3-2 05:53 | 显示全部楼层
do68229 发表于 2026-3-1 19:485 z. _# o" V6 d3 ^9 Z; T1 Y
赚多赚少都是好的,兄弟技术就是强

% J+ D# W6 V. f! k这样的技术还是非常棒的了
回复 支持 反对

使用道具 举报

1664

主题

8万

回帖

1万

金币

海燕硕士

积分
251232

万时之王老会员精华勋章勤奋勋章交易勋章光影行者

发表于 2026-3-2 05:53 | 显示全部楼层
do68229 发表于 2026-3-1 19:48
/ r* v0 n6 y9 X$ E兄弟赚到钱也还是挺好的,运气这也无敌了

* W' e& C6 x' G# {& Z1 k1 Y5 S希望是可以能够一直都保持住这样的好运气
回复 支持 反对

使用道具 举报

1664

主题

8万

回帖

1万

金币

海燕硕士

积分
251232

万时之王老会员精华勋章勤奋勋章交易勋章光影行者

发表于 2026-3-2 05:54 | 显示全部楼层
蔬菜沙拉 发表于 2026-3-1 20:49
) V: f  p& s8 d三定位两面稳扎稳打,这次小赢525挺舒服,递增节奏拿捏得不错啊

! J" o+ U: ^( n$ y  N! i) L确实是非常让人舒服的事情了呢。   
回复 支持 反对

使用道具 举报

1664

主题

8万

回帖

1万

金币

海燕硕士

积分
251232

万时之王老会员精华勋章勤奋勋章交易勋章光影行者

发表于 2026-3-2 05:54 | 显示全部楼层
蔬菜沙拉 发表于 2026-3-1 20:503 s1 H/ P' H# @; I9 Z" r. B
这开局确实舒服,希望后面能稳住别飘,小赢最怕心态炸

* d. `8 `6 e+ @* ^( Y毕竟大家都是非常喜欢赚钱的结果了。
回复 支持 反对

使用道具 举报

1664

主题

8万

回帖

1万

金币

海燕硕士

积分
251232

万时之王老会员精华勋章勤奋勋章交易勋章光影行者

发表于 2026-3-2 05:54 | 显示全部楼层
一路前行 发表于 2026-3-1 23:54- F* l' j* P  [- w' u
这次赚得快,心里真爽,下次还要这么干!

/ u. N( G4 `& |7 k" f+ H0 O1 v3 V相信是可以能够每天都这样的赚钱的
回复 支持 1 反对 0

使用道具 举报

您需要登录后才可以回帖 登录 | 立即注册

本版积分规则

广告合作|福利汇|论坛简介|钱包教程|手机版|小黑屋|Archiver|海燕论坛

快速回复 返回顶部 返回列表