找回密码
 立即注册
澳门威尼斯人
U8
U18
海燕招商
A
蓝盾
e世博
islot.
申博亚洲
澳门银河
B
开云
腾博会
德信
C级广告商
吉祥坊
华体会
查看: 13234|回复: 56

[彩票] 【实战有奖】今天晚上到腾博会玩彩票侥幸只输了水钱

[复制链接]

1214

主题

3万

回帖

485

金币

铂金用户

积分
93039

老会员交易勋章光影行者

发表于 2025-12-23 20:58 | 显示全部楼层 |阅读模式

马上注册,结交更多好友,享用更多功能,让你轻松玩转社区。

您需要 登录 才可以下载或查看,没有账号?立即注册

×
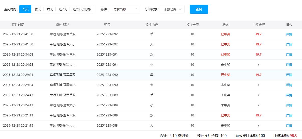
       今天去了腾博会玩了一下彩票。这个运气还是一般的了。按照自己的想法去打,结果并没有什么好的啊也没有什么差的了啊。所以,最终10手中了5手,折损了抽水的钱,还是遗憾的啊。+ J, X, I* m4 n1 B1 c
     第一期我下注了大和双了。每个下注10元了。我这么下,还是因为大小的路子重复的多,容易开出长龙了。结果还是一般的了。大是没有出来的了。双是有出来的啊。我的投注也是1黑1红的一个结果。也就是没有输赢啊。
# X' E7 S3 Y" ^6 h2 j: W      第2期呢,我去买了小和单了。各下注了10元了。然后结果开了出来,却是大双的啊。那么就是2黑了的。我的20大洋也是输了出去了啊,也是很遗憾的啊 。1 j. y5 j8 I3 M1 D! B# D& j) x, R
     第3期呢,就是去买了大和单的啊。每个下注了10大洋了。等到结果出来,竟然是一个小单了啊,来了一个1红1黑了啊。还是一个可以接受的结果了。我的第3期投注就没有输了啊。但是3期下来,我还是输了20的啊。8 j1 e. [6 C  y, w+ i- j0 o5 ?+ j' ~
     第4期,我去买了小和双了。一共下注了20大洋。结果出来,这次是一红一黑的的一个结果。出了大双的啊。我没有输的啊,也没有赢的啊,但是总体还是输了20的啊。+ j5 I# g+ V0 g9 H9 ~
     第5期,我买的是大和单了。还是20大洋下去了。结果出来,竟然还是2红 的一个结果。嗯,这个结果也是真不错的啊。这样我就把之前输的20又赢回来了啊。总体下来,10手就是中了5手了。我的盈利是没有的。再加上了抽水,我还有1.5的负盈利。但是也是没啥了啊。我从输钱,到最后扳本,感觉还是很幸运的啊。。
' Q, y/ h$ ~$ Y" m4 k3 e  l- e- t 1.JPG ! {7 ?+ C- N% n4 d% X+ r# W

5 l" {8 o, i, \; ^! s* m
回复

使用道具 举报

6

主题

7761

回帖

4017

金币

金牌会员

积分
31538

老会员

发表于 2025-12-23 21:03 | 显示全部楼层
只是输了一点水钱不要紧,只要是没有输大就可以接受了
回复 支持 反对

使用道具 举报

41

主题

6393

回帖

1989

金币

银牌会员

积分
15671

老会员

发表于 2025-12-23 21:32 | 显示全部楼层
这样的运气其实也不算太坏的,亏损不大,调整一下就可以' V  i7 \* W8 r# G: c& b
回复 支持 反对

使用道具 举报

480

主题

3万

回帖

4665

金币

铂金用户

积分
84327

老会员美女勋章勤奋勋章交易勋章

发表于 2025-12-23 21:39 | 显示全部楼层
输了水钱还是可以接受的,下次多赢一点就可以了
回复 支持 反对

使用道具 举报

625

主题

2万

回帖

3084

金币

铂金用户

积分
72617

老会员

发表于 2025-12-23 22:27 | 显示全部楼层
天空之城 发表于 2025-12-23 21:32+ U+ h& t& k5 ?; _5 q4 ^% h
这样的运气其实也不算太坏的,亏损不大,调整一下就可以
5 b; O$ n2 c+ y- F
损失不是很多,都是关系不大, ,一拿回阿里了的啊
回复 支持 反对

使用道具 举报

625

主题

2万

回帖

3084

金币

铂金用户

积分
72617

老会员

发表于 2025-12-23 22:27 | 显示全部楼层
初秋2323a 发表于 2025-12-23 21:39+ n3 }8 k: d* L/ i0 {! J' ~7 Q
输了水钱还是可以接受的,下次多赢一点就可以了

/ K8 v$ ~9 j# a. `7 O盈利了那么一点,真的是太给力,太舒服结果了的啊
回复 支持 反对

使用道具 举报

625

主题

2万

回帖

3084

金币

铂金用户

积分
72617

老会员

发表于 2025-12-23 22:28 | 显示全部楼层
损失了这个结果,也是他不爱多,真心不用担心的太多了的啊
回复 支持 反对

使用道具 举报

2610

主题

5万

回帖

7836

金币

钻石用户

积分
178897

万时之王老会员精华勋章勤奋勋章交易勋章

发表于 2025-12-23 22:42 来自手机 | 显示全部楼层
楼主今天玩彩票运气一般,小亏了点水钱,这个结果还可以接受的
回复 支持 反对

使用道具 举报

2610

主题

5万

回帖

7836

金币

钻石用户

积分
178897

万时之王老会员精华勋章勤奋勋章交易勋章

发表于 2025-12-23 22:42 来自手机 | 显示全部楼层
laowanba 发表于 2025-12-23 22:276 e2 a9 ~$ S( t
损失不是很多,都是关系不大, ,一拿回阿里了的啊
. T; [( ^+ V$ N1 A7 P7 G
只是亏损了点水钱,亏损不大,没有太大影响,希望下次多收米了
回复 支持 反对

使用道具 举报

2610

主题

5万

回帖

7836

金币

钻石用户

积分
178897

万时之王老会员精华勋章勤奋勋章交易勋章

发表于 2025-12-23 22:43 来自手机 | 显示全部楼层
初秋2323a 发表于 2025-12-23 21:391 D: E7 W$ R" h" k' n5 W3 O
输了水钱还是可以接受的,下次多赢一点就可以了
$ d4 r% y1 m; N% X+ |
这个亏损可以忽略不计的了,明天运气好就可以轻松赢回来的,加油
回复 支持 反对

使用道具 举报

2422

主题

8万

回帖

7170

金币

海燕硕士

积分
227085

老会员超级精华精华勋章美女勋章勤奋勋章交易勋章万时之王

发表于 2025-12-24 07:31 | 显示全部楼层
输一点水钱也是无所谓的每天玩游戏并不想看到亏损的呀
回复 支持 反对

使用道具 举报

2422

主题

8万

回帖

7170

金币

海燕硕士

积分
227085

老会员超级精华精华勋章美女勋章勤奋勋章交易勋章万时之王

发表于 2025-12-24 07:31 | 显示全部楼层
浴火凤凰 发表于 2025-12-23 22:43
: c5 e) H: w1 [) B1 k/ S这个亏损可以忽略不计的了,明天运气好就可以轻松赢回来的,加油

% ~9 L4 z2 I9 L! A( o想的太多也没有意义,反正输钱都是自己的原因呀
回复 支持 反对

使用道具 举报

2422

主题

8万

回帖

7170

金币

海燕硕士

积分
227085

老会员超级精华精华勋章美女勋章勤奋勋章交易勋章万时之王

发表于 2025-12-24 07:31 | 显示全部楼层
laowanba 发表于 2025-12-23 22:27
& ^7 d. Q3 M0 Z损失不是很多,都是关系不大, ,一拿回阿里了的啊
6 ]8 r/ z+ |1 {' D
损失这个东西也是怪自己玩的不好,就是容易输钱
回复 支持 反对

使用道具 举报

7

主题

1万

回帖

5290

金币

千足金牌会员

积分
50335

老会员光影行者

发表于 2025-12-24 08:33 | 显示全部楼层
这五期下来输赢交替,最后只亏了水钱,运气确实不算太差,可惜中间两期失误有点可惜
回复 支持 反对

使用道具 举报

62

主题

4万

回帖

1272

金币

钻石用户

积分
123665

万时之王老会员勤奋勋章交易勋章光影行者

发表于 2025-12-24 08:34 | 显示全部楼层
输了水钱,也是无所谓了, 这个也是不纠结的了,随意就好了,淡定吧, 这个 !
回复 支持 反对

使用道具 举报

您需要登录后才可以回帖 登录 | 立即注册

本版积分规则

广告合作|福利汇|论坛简介|钱包教程|手机版|小黑屋|Archiver|海燕论坛

快速回复 返回顶部 返回列表