找回密码
 立即注册
澳门威尼斯人
U8
U18
海燕招商
A
蓝盾
e世博
islot.
申博亚洲
澳门银河
B
腾博会
德信
C级广告商
吉祥坊
查看: 39640|回复: 82

[彩票] 【实战有奖】今天到腾博会玩彩票输了60大洋

[复制链接]

1214

主题

3万

回帖

1355

金币

铂金用户

积分
96072

老会员交易勋章光影行者

发表于 2025-10-29 20:59 | 显示全部楼层 |阅读模式

马上注册,结交更多好友,享用更多功能,让你轻松玩转社区。

您需要 登录 才可以下载或查看,没有账号?立即注册

×
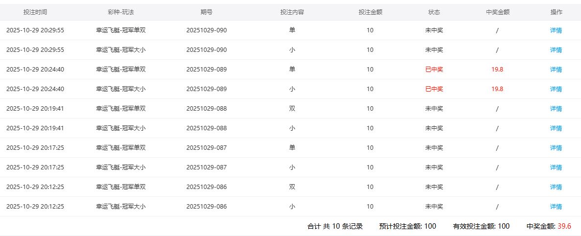
    今天到了腾博会去玩了彩票。还是选择了幸运飞艇这个游戏。可惜的是,昨天我赢了近40块,今天却输了60块,也是太无奈的啊。5 O3 t; C% U+ N3 o. T# B  }/ C0 Y
8 Q+ w* i* i) s" \
     一开始,我是买了小和双了啊。觉得还是要赢的吧,下注了20大洋了啊。不过开奖结果出来,竟然是遇到了2黑的啊。一个都没有中。我的20大洋就输了啊。真是遗憾的啊。
& t5 A4 V9 X" C. E# S. v     第2期,我是去下注了小和单了 。每个下注了10大洋了。可是结果出来了。竟然还是2黑了啊。我的运气感觉也是太糟糕了。竟然25%的概率连续出现了。这样我就输了40大洋出去了啊。
7 X( d% t/ E/ N) o; W     第3期,我又买了小和双。我以为这次总要赢了吧。下注了每个10元的啊。但是结果出来,竟然还是2黑了。我简直是无语了啊。那么小的概率竟然3次让我遇到啦 。太悲剧了啊。
8 k/ ]; U0 Y& ^% J3 k7 ~     第4期,没有办法,我还是要继续。我就想看看我到底要输几期。这期我买了小和单各10元。这次算幸运了啊。结果出来,真的是小单了啊。于是我就赢了20大洋了啊。算是搬了一点回来。
  J3 S+ e2 s9 f: q     第5期,我就继续下注小和单,想再搬一点本。不料,这次结果出来,我又遇到了2黑了。实在是太无奈了。今天不是2黑就是2红,黑的多出了3期来,所以我的亏损就是60大洋了啊。实在是很悲催了啊。我是很不开心的啊。3 z& P5 N% D8 J0 c. m
    0.JPG
& j4 w) L5 ?. j' t) X
回复

使用道具 举报

102

主题

6390

回帖

2606

金币

金牌会员

积分
20822

老会员

发表于 2025-10-29 21:10 | 显示全部楼层
楼主的战绩不是很理想的结局,能止损做的非常不错
回复 支持 反对

使用道具 举报

619

主题

1万

回帖

4537

金币

千足金牌会员

积分
42265

老会员

发表于 2025-10-29 22:18 | 显示全部楼层
这战绩啊确实没达到理想效果,实是有些可惜,希望下次能挽回损失的60大洋
回复 支持 反对

使用道具 举报

3400

主题

4万

回帖

4164

金币

钻石用户

积分
116809

万时之王老会员勤奋勋章交易勋章

发表于 2025-10-29 23:01 | 显示全部楼层
所幸只是输六十, 不算多了, 这点亏损也是可以承受得起了, 影响不了大局
回复 支持 反对

使用道具 举报

3400

主题

4万

回帖

4164

金币

钻石用户

积分
116809

万时之王老会员勤奋勋章交易勋章

发表于 2025-10-29 23:01 | 显示全部楼层
一路前行 发表于 2025-10-29 22:18
/ q0 }3 }4 M( M5 \  D1 v0 j4 C这战绩啊确实没达到理想效果,实是有些可惜,希望下次能挽回损失的60大洋 ...

  v0 E& m; J9 o$ @玩菠菜都是有风险的, 输赢很正常了, 输不多, 也是不必计较的了
回复 支持 反对

使用道具 举报

3400

主题

4万

回帖

4164

金币

钻石用户

积分
116809

万时之王老会员勤奋勋章交易勋章

发表于 2025-10-29 23:02 | 显示全部楼层
易天一人 发表于 2025-10-29 21:10
/ U9 m& c) \# {+ A- R! H, \$ J( H楼主的战绩不是很理想的结局,能止损做的非常不错
( l4 m( L5 e3 c& q
彩票运气不行, 也是可以尝试下别的游戏了, 说不定能够峰回路转了。
回复 支持 反对

使用道具 举报

1664

主题

8万

回帖

1万

金币

海燕硕士

积分
251232

万时之王老会员精华勋章勤奋勋章交易勋章光影行者

发表于 2025-10-30 06:27 | 显示全部楼层
这一次输钱了,还是非常可惜的事情还是非常让人不满意的结果了。
回复 支持 反对

使用道具 举报

1664

主题

8万

回帖

1万

金币

海燕硕士

积分
251232

万时之王老会员精华勋章勤奋勋章交易勋章光影行者

发表于 2025-10-30 06:27 | 显示全部楼层
莫扎特06 发表于 2025-10-29 23:01
1 R8 O2 U$ G' ?# r玩菠菜都是有风险的, 输赢很正常了, 输不多, 也是不必计较的了
' r8 K' W( _& W  ]* [% [% c
感觉是有很大的风险了,我们都是非常不喜欢输钱的结果了。
回复 支持 反对

使用道具 举报

1664

主题

8万

回帖

1万

金币

海燕硕士

积分
251232

万时之王老会员精华勋章勤奋勋章交易勋章光影行者

发表于 2025-10-30 06:28 | 显示全部楼层
莫扎特06 发表于 2025-10-29 23:02" P2 S; j/ X" B$ J9 v( P8 {
彩票运气不行, 也是可以尝试下别的游戏了, 说不定能够峰回路转了。
6 y" W  H( k( R8 c# v) y( j: m/ Z6 r
还是可以换个游戏试试的,希望是可以能够赢钱的结果吧。
回复 支持 反对

使用道具 举报

63

主题

4万

回帖

2919

金币

钻石用户

积分
129347

万时之王老会员勤奋勋章交易勋章光影行者

发表于 2025-10-30 06:50 | 显示全部楼层
遗憾的输了一天的伙食费了,也是太难了,不好搞了,郁闷的结果了,难受的!
回复 支持 反对

使用道具 举报

63

主题

4万

回帖

2919

金币

钻石用户

积分
129347

万时之王老会员勤奋勋章交易勋章光影行者

发表于 2025-10-30 06:50 | 显示全部楼层
cwx1994 发表于 2025-10-30 06:278 L0 T0 ?9 Y" d/ S, G
感觉是有很大的风险了,我们都是非常不喜欢输钱的结果了。
7 D6 N4 g  t/ {" k* V6 A
确实是有风险,这就是BC,真的是美誉哦办法了,现实比较残酷了,不好搞的!
回复 支持 反对

使用道具 举报

63

主题

4万

回帖

2919

金币

钻石用户

积分
129347

万时之王老会员勤奋勋章交易勋章光影行者

发表于 2025-10-30 06:51 | 显示全部楼层
莫扎特06 发表于 2025-10-29 23:01
, Y4 e7 H( V( R5 ~" N玩菠菜都是有风险的, 输赢很正常了, 输不多, 也是不必计较的了

0 a/ a* a" g9 i; Q8 {4 R4 y/ c输赢正常,但是要做到控制好自己,那确实是没有啥大问题就好的了!
回复 支持 反对

使用道具 举报

1852

主题

6万

回帖

4532

金币

钻石用户

积分
182379

万时之王老会员勤奋勋章交易勋章

发表于 2025-10-30 06:55 | 显示全部楼层
易天一人 发表于 2025-10-29 21:108 n; m2 ~" x1 F) X
楼主的战绩不是很理想的结局,能止损做的非常不错
3 T# q1 }- H% Y/ w, G
这一次的结果是真的不理想啊这样的结果也是真的悲剧了
: D* \0 `6 `# s6 ]  z, H
回复 支持 反对

使用道具 举报

1852

主题

6万

回帖

4532

金币

钻石用户

积分
182379

万时之王老会员勤奋勋章交易勋章

发表于 2025-10-30 06:55 | 显示全部楼层
cwx1994 发表于 2025-10-30 06:27
9 U9 @! e% v6 M7 r这一次输钱了,还是非常可惜的事情还是非常让人不满意的结果了。

' j! ~& E5 A. C4 o8 s这个结果确实是比较可惜的了只能希望下一次是可以好运气! I+ W3 o9 q1 R
回复 支持 反对

使用道具 举报

1852

主题

6万

回帖

4532

金币

钻石用户

积分
182379

万时之王老会员勤奋勋章交易勋章

发表于 2025-10-30 06:55 | 显示全部楼层
这样的结果当然是遗憾的了这个只能希望下一次能够赢回来吧3 ~" Q6 g& {2 h3 J% A. B* v
回复 支持 反对

使用道具 举报

您需要登录后才可以回帖 登录 | 立即注册

本版积分规则

广告合作|福利汇|论坛简介|钱包教程|手机版|小黑屋|Archiver|海燕论坛

快速回复 返回顶部 返回列表